СХ
Смотровые стекла, клапаны, вентили
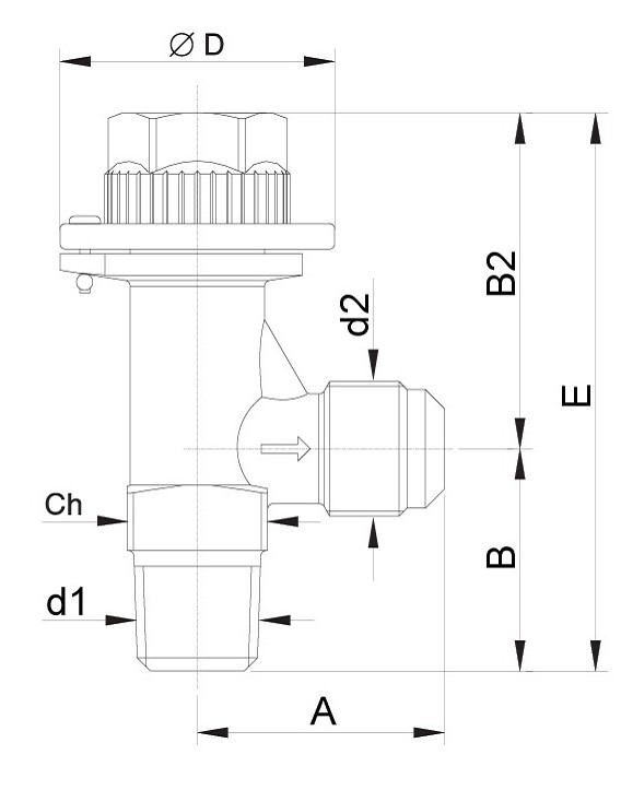
Дифференциальные обратные клапаны серии BC-ORV
Назначение дифференциального обратного клапана серии BC-ORV - создание давления определенного значения в масляном ресивере в системах возврата масла низкого давления.

Для того, чтобы масло из маслосборника (масляного ресивера) поступало обратно в компрессоры в достаточном количестве в системах с одним компрессором и многокомпрессорных системах с низким давлением масла, между маслосборником (масляным ресивером) и картером компрессора необходимо поддерживать перепад давления, в тоже время дифференциальный обратный клапан позволяет снизить давление масла перед входом в картер, предотвращая тем самым процесс вспенивания.

При подборе дифференциального обратного клапана BC-ORV необходимо учитывать тип системы, тип масла, температурный режим, режим эксплуатации и, самое главное, количество компрессоров и количество масла в картере каждого компрессора!!!

Обратный клапан устанавливается в магистраль между масляным ресивером и:

  • всасывающей линией одноступенчатого компрессора,
  • всасывающим коллектором многоступенчатой холодильной централи,
  • магистралью с промежуточным давлением в двухступенчатых или бустерных установках
        реле давления BC-DPS1
        реле давления BC-DPS1
        Технические параметры
        Предохранительные клапаны серии BC-SV
        Назначение:

        • Клапан предохранительный предназначен для защиты сосудов, работающих под давлением, от разрушения посредством сброса избытка хладагента в аварийную магистраль, атмосферу или в специальную емкость (с целью повторного использования).
        • Корпус клапана выполнен из высококачественной бронзы. Имеет вход под резьбу 1/2" NPT. Выход под резьбу 5/8 SAE или отв. 4 мм x 4 шт.

        Основные технические данные и характеристики клапана:

        1. Условный проход Ду, мм:

        -для BC-SV-12 N – 9,5
        -для BC-SV-12 – 6,0
        -для BC-SV-12-28-NI – 9,5

        2. Рабочее давление Рр, МПа (кгс/см2) – 1,0 (10) – 4,6 (45)
        3. Давление настройки клапана, Рu, МПа (кгс/см2) – 1,7 (17) – 3,2 (32)
        4. Температура рабочей среды t, °C – минус 40°С +150 °С
        5. Рабочая среда: хладагенты R12, R22, R404a, R507, R134a, R410a, R407c, R502
        6. Давление за клапаном - атмосферное
        7. Присоединение клапана к сосуду:
        для ресиверов PR / HPR и ресиверов стандартного модельного ряда 2014 года – непосредственно к порту для ПК 1/2''NPT
        - для ресиверов модельного ряда 2013 гора - через переходник для предохранительного клапана
        - для всех типов ресиверов - посредством 3-х ходового вентиля
        8. Принцип действия – предохранительный клапан прямого действия.
        9. Тип корпуса – угловой/прямоточный. Направление подачи хладагента – под золотник.
                реле давления BC-DPS1
                реле давления BC-DPS1
                3-х ходовой вентиль BC-VSV-1
                (для предохранительных клапанов)
                Основным предназначением 3-х ходового вентиля является обеспечение возможности выполнения замены одного из устройств сброса давления (предохранительного клапана), в то время как другой продолжает защищать сосуд высокого давления. Также он позволяет заменять устройство сброса давления, не снимая его и не сливая хладагент из системы.
                Технические характеристики:
                • Материал корпуса: латунь
                • Совместимость со всеми CFC, HCFC, HFC хладагентами, кроме NH3
                        реле давления BC-DPS1
                        реле давления BC-DPS1
                        Технические параметры
                        Вентили запорные Rotalock серии BC-VR/N
                        Особенности:

                        • Материал: сталь с антикоррозионным покрытием, нанесенным методом анодирования.
                        • Два сервисных порта 1/4'' SAE.
                        • В комплект входит фторопластовая прокладка.
                        • В комплект поставки вентилей с индексом N входят золотники для сервисных портов.
                        • Минимальный перепад давления.
                        • Простота монтажа на герметичных компрессорах и ресиверах.
                        • 100% тестирование на внешние и внутренние утечки.
                        Технические характеристики:

                        Технические характеристики:

                        • Максимальное рабочее давление: 45 бар (-10 … +140°С)
                        • Рабочее давление 35 бар (-40 …+140°С)
                        • Давление испытания: 57 бар
                        • Давление разрушения: 230 бар
                        • Температура среды: от -40 до 140°С
                        • Окружающая температура: от -40 до 70°С
                        • Внешние утечки: макс 3 г/год
                        Совместимость:

                        CFC, HFC, HCFC, минеральные, синтетические масла.
                        Корпус: сталь с антикоррозионным покрытием, нанесенным методом анодирования, латунные колпачки с медными прокладками на портах отбора давления.

                        Нет ограничений по ориентации.
                        Рекомендуется использовать припой с содержанием серебра.
                        После пайки вентиль и соединение должны быть защищены от коррозии.


                                BC-VR-3/4-3/8 074819 BC-VR-1-3/8 074820 BC-VR-1-10 0748201 BC-VR-1-1/2 074821 BC-VR-1-5/8 074822 BC-VR-1 1/4-5/8 074823 BC-VR-1 1/4-3/4 074824 BC-VR-1 1/4-7/8 074825 BC-VR-1 1/4-1 1/8 BC-VR-1 3/4-7/8 074827 BC-VR-1 3/4-1 1/8 074828 BC-VR-1 3/4-1 3/8 074829 BC-VR-1 3/4-1 5/8 074830 BC-VR-1 3/4-42 0748301 42 мм BC-VR-2 1/4-1 3/8 074834 BC-VR-2 1/4-1 5/8 074835 BC-VR-2 1/4-42 0748351 BC-VR-2 1/4-2 1/8
                                реле давления BC-DPS1
                                BC-VR-3/4-3/8 074819 BC-VR-1-3/8 074820 BC-VR-1-10 0748201 BC-VR-1-1/2 074821 BC-VR-1-5/8 074822 BC-VR-1 1/4-5/8 074823 BC-VR-1 1/4-3/4 074824 BC-VR-1 1/4-7/8 074825 BC-VR-1 1/4-1 1/8 074826 BC-VR-1 3/4-7/8 074827 BC-VR-1 3/4-1 1/8 074828 BC-VR-1 3/4-1 3/8 074829 BC-VR-1 3/4-1 5/8 074830 BC-VR-1 3/4-42 0748301 BC-VR-2 1/4-1 3/8 074834 BC-VR-2 1/4-1 5/8 074835 BC-VR-2 1/4-42 0748351
                                Индикатор влажности со смотровым стеклом серии BC-SG ..N
                                Смотровые стекла с индикатором влажности серии BC-SG служат для визуального контроля наличия хладагента в системе, определения его количества для стабильной работы холодильной установки (правильности заправки хадагентом), а также для мониторинга уровня влажности на жидкостной линии холодильной системы.
                                Индикаторы влажности серии BC-SG обычно располагаются на жидкостной линии после фильтра-осушителя и перед соленоидным вентилем (в противном случае при измерении влажности могут указываться ошибочные значения).

                                Особенности:
                                • высокая чувствительность даже к небольшому количеству влаги в системе;
                                • отсутствие затемненных участков и как следствие наглядность стекла;
                                • контрастность индикаторного элемента;

                                Технические характеристики:

                                • Максимальное рабочее давление:
                                для смотровых стекол 1/4"- 5/8": 45 бар,
                                для смотровых стекол 3/4"- 7/8": 35 бар,
                                • Температура рабочей среды: -40...80 С
                                • Материал корпуса: высококачественная латунь. Патрубки под пайку выполнены из меди.
                                • Совместимость: со всеми CFC, HCFC, HFC хладагентами.
                                • Масла: минеральные, алкилбензольные и синтетические.

                                Не работают с R11 и аммиаком!
                                        BC-SG-014N BC-SG-038N BC-SG-012N BC-SG-058N BC-SG-034N BC-SG-078N
                                        реле давления BC-DPS1
                                        Считывание показаний влажности:
                                        Содержание влаги в миллиграммах на килограмм хладагента (ppm) можно идентифицировать с помощью кода, (см. таблицу)
                                        Перед первым определением кол-ва влаги в системе рекомендуется минимальный 12-ти часовой период работы после включения установки.
                                        В случае, если на индикаторе активизируется желтый цвет, требуется замена фильтра-осушителя.
                                        Шаровые вентили BC-BV, BC-BV...N, BC-BVа… N
                                        Особенности:
                                        Шаровые запорные вентили серии BC-BV…N с ручным управлением, двунаправленные, двухпозиционные предназначены для использования в жидкостных, всасывающих трубопроводах холодильных установок и системах кондиционирования воздуха.
                                        BC-BVа… N - шаровые запорные вентили с сервисным штуцером.

                                        Максимальное рабочее давление: 45 кг/см2.
                                        Температурный диапазон: -40…+150 С.
                                        Корпус вентиля выполнен из высококачественной бронзы.
                                                BC-BV-14N BC-BV-38N BC-BV-12N BC-BV-58N BC-BV-34N BC-BV-78N BC-BV-118N BC-BV-138N BC-BV-158N BC-BV-218N BC-BV-258N BC-BV-318N BC-BV-358N BC-BV-418N
                                                реле давления BC-DPS1
                                                Особенности:
                                                Шаровые запорные вентили серии BC-BV с ручным управлением, двунаправленные, двухпозиционные предназначены для использования в жидкостных, всасывающих трубопроводах холодильных установок и системах кондиционирования воздуха.
                                                Максимальное рабочее давление: 48 кг/см2.
                                                Температурный диапазон: -40…+150 С.
                                                Корпус вентиля выполнен из высококачественной бронзы.
                                                BC-BV-14 BC-BV-38 BC-BV-12 BC-BV-58 BC-BV-34 BC-BV-78 BC-BV-118 BC-BV-138 BC-BV-158 BC-BV-218 BC-BV-258 BC-BV-318
                                                Шаровые запорные вентили серии BC-BV
                                                шаровый вентиль Becool BC-BV…N Becool BC-BV Danfoss Alco Controls Refrigera Castel
                                                Особенность конструкции шарового вентиля - наличие балансировочного отверстия (b) рис 1, позволяющее компенсировать перепады давления и температуры при открытии/закрытии вентиля. При этом полностью исключается возможность появления такого эффекта как гидроудар. Для максимального использования данного преимущества шарового вентиля BC-BVa…N необходимо, что бы отверстие было сориентировано в сторону высокого давления ВТО время как вентиль закрыт.
                                                Находящийся на валу небольшой упор, позволяет определить, в каком положении находится вентиль: в открытом или закрытом. Также данный упор указывает на расположение балансировочного отверстия. Если упор находится в среднем положении, а шток установлен параллельно потоку – вентиль открыт рис. 2 OPEN POSITION . Если упор находится в положении, параллельно потоку, а шток установлен перпендикулярно, то вентиль закрыт (обратите внимание на положение отверстия (b) и упора (a)-они обращены в сторону высокого давления) рис. 3 CLOSED POSITION
                                                Шаровые вентили серии BC-BVS
                                                Особенности:
                                                Три функции в одном вентиле!
                                                Экономия расходных материалов и припоя!
                                                На три пайки меньше!
                                                Шаровый запорный вентиль серии BC-BVS с сервисным штуцером и смотровым стеклом это вентиль, совмещающий в себе три элемента системы:
                                                1.запорный шаровый вентиль
                                                2.смотровое стекло
                                                3.сервисный штуцер

                                                Максимальное рабочее давление: 48 бар.
                                                Температурный диапазон: от -40 до 150 С.
                                                Корпус вентиля выполнен из высококачественной бронзы
                                                        BC-BVS-38 BC-BVS-12 BC-BVS-58 BC-BVS-34 BC-BVS-78
                                                        реле давления BC-DPS1
                                                        Усиленные обратные клапаны BC-СVH
                                                        Обратные клапаны BC-CVH c усиленной пружиной, устанавливаются в жидкостных линиях, линиях всасывания и в трубопроводах горячего газа холодильных установок и систем кондиционирования воздуха. Клапаны BC-CVH имеют встроенный демпфирующий поршень, позволяющий устанавливать клапан в линиях с пульсацией давления, например, в линиях нагнетания за компрессором.

                                                        •Гарантируют течение хладагента в заданном направлении.
                                                        •Выпускаются в прямоточном и угловом исполнении.
                                                        •Герметичная конструкция клапанов под пайку.
                                                        •Обратный клапан типа BC-CVH имеет усиленную пружину. Его рекомендуется использовать в случае параллельной установки компрессоров (в централях), в которых возникает повышенный уровень пульсации и вибрации.
                                                        •Увеличенные штуцеры расширяют возможный диапазон применения.
                                                        •Работают со всеми фторсодержащими хладагентами
                                                        •Перепад давления 0,3 бара
                                                        •Исключают проблемы с резонансными колебаниями, возникающие в холодильных установках при неполной нагрузке

                                                        Технические характеристики:

                                                        Тип хладагента -ХФУ, ГХФУ и ГФУ (группа опасности 2)
                                                        Фазовое состояние- Газ/жидкость
                                                        Доступны корпуса -прямоточного и углового исполнения.
                                                        Тип присоединения - под пайку ODF
                                                        Диапазон рабочих температур - 50…+140°C
                                                        Максимальное рабочее давление: 4,6 Мпа (46 bar)
                                                        Максимальная пропускная способность Kv, 30 м3/ч
                                                                BC-CVH-58S BC-cvh-34S BC-CVH-78S BC-CVH-118S BC-CVH138S BC-CVH158S
                                                                реле давления BC-DPS1
                                                                Прямоточные обратные клапаны BC-СV
                                                                Прямоточные обратные клапаны устанавливаются в жидкостных линиях, линиях всасывания и в трубопроводах горячего газа холодильных установок и систем кондиционирования воздуха. Клапаны гарантируют движение потока хладагента только в одном – заданном направлении.

                                                                Особенности:
                                                                Клапаны обеспечивает однонаправленный поток хладагента.
                                                                Снабжены амортизационной пружиной для свободной установки клапана в местах, находящихся под воздействием импульсов давления.
                                                                Совместим с хладагентами CFC, HFC, HCFC, в том числе и с R410A.

                                                                Технические характеристики:
                                                                Работают со всеми фторсодержащими хладагентами.
                                                                Минимальный перепад давлений: 0,1 бар
                                                                Диапазон рабочих температура: от -35° до 110° С
                                                                Максимальное рабочее давление: 46 бар
                                                                        BC-CVH-58S BC-cvh-34S BC-CVH-78S BC-CVH-118S BC-CVH138S BC-CVH158S
                                                                        реле давления BC-DPS1
                                                                        Запрос на КП или счет можно направить по электронной почте strcold@ya.ru
                                                                        Узнайте об акциях и скидках первыми!
                                                                        Один раз в месяц мы будем присылать вам информацию о наших последних коллекциях, скидках и акциях. Обещаем быть полезными!
                                                                        +7 981 163 97 43
                                                                        strcold@yandex.ru
                                                                        г.Санкт-Петербург
                                                                        Made on
                                                                        Tilda